Socket weld ends
SM
|
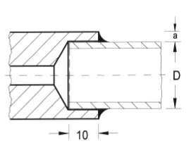
Socket weld ends Form of weld ends according to EN 12760 (DIN 3239 spec. part 2) |
![]() |
| Rohr außen |
D | amin | Code | A3 | A7 | A11 | E5 | S15 in |
S15 out |
|---|---|---|---|---|---|---|---|---|---|
| 12 | 12,5 | 5 | SM 12 | ||||||
| 13,5 | 14 | 4,3 | SM 13 | ||||||
| 14 | 14,5 | 4 | SM 14 | ||||||
| 17,2 | 18 | 2,4 | SM 17 | ||||||
| 21,3 | 22 | 3,5 | SM 21 | ||||||
| 26,9 | 27,5 | 4,3 | SM 27 |
--> Other dimensions on request
