Special characters
A - External spindle thread
![]() |
This bonnet is necessary for operating temperatures over 300°C (over 250° C recommended). Anmerkung: Die Temperatur in der Meßleitung ist meist
deutlich niedriger als in der Rohrleitung.
Note: The temperature in the measurement tube is in most cases considerably lower than in the product pipe.
|
|||||||||||||||||||||||||||||||||||||||||||||||||||||||||||||||||||||||||||||||||||||||||||||
A - External spindle thread type A2
![]() |
Contrary to the previous external spindle thread the packing can be pulled tight here only with opened spindle (open valve).
|
|||||||||||||||||||||||||||||||||||||||||||||||||||||||||||||||||||||||||||||
F - Head piece with bellow and security stuffing box acc. german TA-Luft (TA-Luft; VDI 2440)
![]() |
With bellow seals a tightness (outwards) of bigger than 1x 10-8mbar 1/s can be reached. The tightness can be checked using a helium-leak-test.
|
![]() |
Anti Tamper (T) Anti Tamper lockable (TL) Bonnet is lockable (lock not included). |
E - Vent screw
![]() |
Entlüftungsschrauben gibt es hauptsächlich in Manometerventilen.
Sie entspannen die Ausgangsseite.
Vent screws are mostly in gauge valves. They relax the outlet. |
G - Bar
![]() |
Bars are made out of carbon steel or SS (13% chrome).
|
R - regulating cone
![]() |
Valves with regulating cone offer the possibility for better flow regulation. There are different forms (parabolic form, step-cone, taper-cone (standard)). |
![]() |
K - lock nut for panel mounting
![]() |
![]() Valves are available with an extra long external thread on the bonnet to allow panel mounting. |
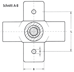
L - bracket
![]() |
Brackets are made out of carbon steel or stainless steel.
|
Lr - bracket half round
![]() |
This bracket is welded at a valve or a manifold. Thus mounting is possible at an instrument panel or to a pipe rack with a fixingbolt. (s. also Zubehör für Ventilblöcke) |











