Shut-off valve
| body number | 11 |
DN: max 14 (T max. 500oC external spindle thread) |
Bigger forged valve with screwed stainless steel seat and screwed bonnet for universal applications. For higher temperatures >250oC with external spindle thread or for highest density (for instance TA-Luft) with bellow with security-stuffing box available. |
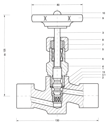
part list
| part no. | designation | material | ||||
|---|---|---|---|---|---|---|
| 1 | 2 | 3 | 5 | 7 | ||
| 1 | body, forged | A105 | 316Ti | A182-F11;F12 | A182-F1 | A182-F22 |
| 2 | seat interchangeable | 403F | 316Ti | |||
| 3 | spindle roll sealed | 403F | 316Ti | |||
| 3.1 | cone, rolled into, movable | SS | 316Ti | |||
| 4 | screwed bonnet housing | 1035 | 316Ti | A182-F11;F12 | ||
| 5 | scraper ring | Novapress | ||||
| 6 | packing | graphite 1) | PTFE 2) | graphite 1) | ||
| 7 | gland | 1213 | 316Ti | 316Ti | ||
| 8 | union nut | 1213 | 316Ti | 303 | ||
| 9 | handwheel | moulded plastic 2) | ||||
| 10 | nut | galvanized steel | SS | galvanized steel | ||
| 13 | seal | mild steel | 316Ti | mild steel | ||
1) On request: ptfe-packing; max 200°C for all fittings or
2) free of oil and grease: oxygen packing max. PN 250
3) On request: steel sheet or tommy bar.
![]() |
scale
Our valves have stainless steel internal parts. This is the guarantee for problem- free application over many years. with external spindle thread
|
|
|
Order Number
| A | 11 | inlet-code | outlet-code | ||
| type | body number | material code | special characters code | ||
| A=shut-off valves | 1 Mat.: carbon steel A105 2 Mat.: stainless steel 316Ti 3 Mat.: heat resistant steel A182-F11;F12 5 Mat.: heat resistant steel A182-F1 7 Mat.: heat resistant steel A182-F22 |
A external spindle thread E venting F bellow G bar (instead of handwheel) H handwheel of steel sheet K lock nut L bracket PT german TA-Luft R adjusting cone (needle, parabola cone) |

