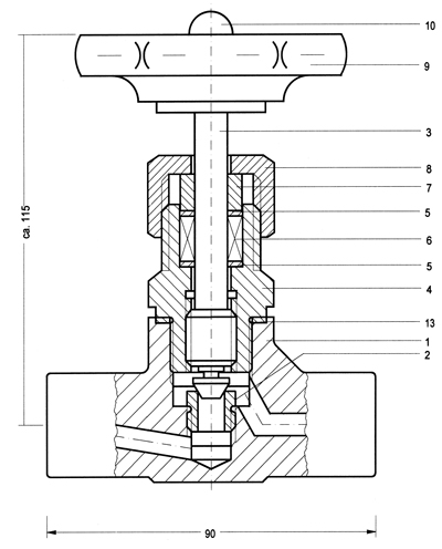
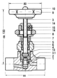
Shut-off valves
| body number | 7 |
DN: max 8 (T max. 500oC external spindle thread) |
Forged valve with screwed stainless steel seat and screwed bonnet for universal applications. For higher temperatures (>250oC) with external spindle thread or for highest tightness (e.g. TA-Luft) with bellow and security-stuffing box available. |
part list
| part no. | designation | material | ||
|---|---|---|---|---|
| 1 | 2 | 3 | ||
| 1 | body, forged | A105 | 316Ti | A182-F11;F12 |
| 2 | seat interchangeable | 430F | 316Ti | |
| 3 | spindle roll sealed | 430F | 316Ti | |
| 3.1 | cone, rolled into, movable | SS | 316Ti | |
| 4 | screwed bonnet housing | 1035 | 316Ti | A182-F11;F12 |
| 5 | scraper ring | Novapress | ||
| 6 | packing | graphite1) | PTFE2) | graphite1) |
| 7 | gland | 1213 | 316Ti | 316Ti |
| 8 | union nut | 1213 | 316Ti | 303 |
| 9 | handwheel | moulded plastic3) | ||
| 10 | nut | galvanized steel | SS | galvanized steel |
| 13 | seal | mild steel | 316Ti | mild steel |
1) On request: ptfe-packing; max 200°C for all fittings or
2) free of oil and grease: oxygen packing max. PN 250
3) On request: steel sheet or tommy
![]() |
scale
Our valves have rolled, movable cones. Thats why they do not rub against each other. Security for durable and high levels of thightness. with external spindle thread
|
|
|
Order Number
| A | 7 | inlet-code | outlet-code | ||
| type | body number | material code | special characters code | ||
| A=shut-off valves | 1 Mat.: carbon steel A105 2 Mat.: stainless steel 316Ti 3 Mat.: heat resistant steel A182-F11;F12 |
A external spindle thread E venting F bellow G bar (instead of handwheel) H handwheel of steel sheet K lock nut L bracket PT german TA-Luft R adjusting cone (needle, parabola cone) |

