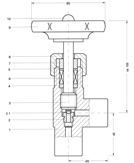
Angle valve
| body number | 5 |
DN: max 6
|
Compact forged valve in angle form, with screwed seat and internal spindle thread for temperatures in the short-term of up to 300°C. |
part list
| part no. | designation | material | ||
|---|---|---|---|---|
| 1 | 2 | 3 | ||
| 1 | body, forged | A105 | 316Ti | A182-F11;F12 |
| 2 | seat interchangeable | 430F | 316Ti | |
| 3 | spindle roll sealed | 430F | 316Ti | |
| 3.1 | cone, rolled into, movable | SS | 316Ti | |
| 4 | taper ring | 1035 | 316Ti | 1213 |
| 5 | scraper ring | Novapress | ||
| 6 | packing | graphite1) | PTFE2) | graphite1) |
| 7 | gland | 1213 | 316Ti | 1213 |
| 8 | union nut | 1213 | 316Ti |
1213 |
| 9 | handwheel | moulded plastic3) | ||
| 10 | nut | galvanized steel | SS | galvanized steel |
1) On request: ptfe-packing; max 200°C for all fittings or
2) free of oil and grease: oxygen packing max. PN 250
3) On request: steel sheet or tommy bar.
![]() |
scaleAll valves and manifolds are 100% pressure tested after assembly. Your guarantee for problemfree use. Dichtigkeit.
|
|
|
Order Number
| E | 5 | inlet-code | outlet-code | ||
| type | body number | material code | special characters code | ||
| E=angle valve |
1 Mat.: carbon steel A105 2 Mat.: stainless steel 316Ti 3 Mat.: heat resistant steel A182-F11;F12 |
E venting G bar (instead of handwheel) H handwheel of steel sheet K lock nut L bracket PT german TA-Luft R adjusting cone (needle, parabola cone) |
