Shut-off valves
| body number | 3 | DN: max 8 PN max. 400 T max 250°C CV ≈ 0,5 (DN5) |
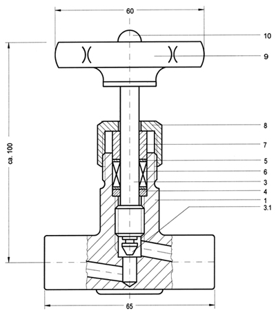
Compact forged valve, with turned seat and internal spindle thread for short-time temperatures up to 300°C. |
part list
| parts no. | designation | material | |
|---|---|---|---|
| 1 | 2 | ||
| 1 | body, forged | A105 | 316Ti |
| 3 | spindle roll sealed | 403F | 316Ti |
| 3.1 | cone,rolled into, movable | SS | 316Ti |
| 4 | taper ring | 1035 | 316Ti |
| 5 | scraper ring | Novapress | |
| 6 | packing | graphite1) | PTFE2) |
| 7 | gland | 1213 | 316Ti |
| 8 | union nut | 1.0715 | 316Ti |
| 9 | handwheel | moulded plastic3) | |
| 10 | nut | galvanized steel | 316Ti |
![]() |
scaleOur valves have rolled spindles with a roughness < 0,002 mm. Therefore they offer security and long durability without any maintenance costs. |
|
![]() |
Order Number
| A | 3 | inlet-code | outlet-code | ||
| type | body number | material code | special characters code | ||
| A=shut-off valves | 1Mat.: carbon steel A105 2Mat.: stainless steel 316Ti other materials on request |
G bar (instead of handwheel) H handwheel of steel sheet K lock nut L bracket PT german TA-Luft R adjusting cone (needle, parabola cone) |

