Manifold 31
| 31 | DN: max 5 (8) PN max. 420 (6000psi) T max 250°C (T max 450oC with external spindle thread) |
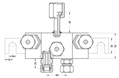
This 3-walve manifold has an isolation-, an instrument- and a vent/calibrate valve. |
parts list
| part no. | designation | material | ||
|---|---|---|---|---|
| 1 | 2 | 3 | ||
| 1 | body | A105 | 316Ti | A182-F11;F12 |
| 2 | seat interchangeable | 430F | 316Ti | |
| 3 | spindle roll sealed | 430F | 316Ti | |
| 3.1 | cone, rolled into, movable | SS | 316Ti | |
| 4 | screwed bonnet housing | 1035 | 316Ti | |
| 5 | scraper ring | Novapress | ||
| 6 | packing | graphite1) | PTFE2) | |
| 7 | gland | 1213 | 316Ti | 316Ti |
| 8 | union nut | 1213 | 316Ti | 303 |
| 9 | handwheel | moulded plastic3) | ||
| 10 | nut | galvanized steel | SS | |
| 13 | seal | mild steel | 316Ti | mild steel |
1) On request: ptfe-packing; max 200°C for all fittings or
2) free of oil and grease: oxygen packing max. PN 250
3) On request: steel sheet or tommy bar.
![]() |
Diese Darstellung zeigt beispiels- weise den Ventilblock mit Ein- gangs-, Ausgangs- und Testan- schluß mit Innengewinde
1/2” NPT. Optional sind Laschen, Befesti- gungsgewinde und die Verschluß- schraube. (Andere Anschlüsse und Erklärun- gen s. Seite V25)
scale
This picture shows e.g. the manifold with inlet- and test-connection cutting ring for 12mm tube and and outlet connection wel- ded nipple with union nut G1/2” EN 837-1. Optional there are brackets or fastening f-thread.
|
|
Order no. for this example: V31?SV12LG12SV12
|
![]() |
Fastening female thread or brackets on request
|
|
![]() |
Order Number
| V | 31 | |||||
| type | body number | material code | inlet-code | outlet-code | test-/ blow out connection code | special characters code |
| V=manifold |
1 Mat.: carbon steel A105 2 Mat.: stainless steel 316Ti 3 Mat.: heat resistant steel A182-F11; F12 |
P6 G3/8“ possibly with plug P7 1/2-14 NPT possibly with plug P8 1/4-18 NPT possibly with plug P1 screwed stud with M20x1,5 male. Cap DIN 16287 form D |
A external spindle thread B fastening female thread F bellow G bar (instead of handwheel) H handwheel of steel sheet L bracket PT german TA-Luft S T-bar key |



