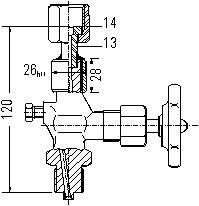
Gauge valve - DIN16271
| body number | 1 |
DN: max. 4 (acc. to DIN)
|
Gauge valves according to DIN 16271 specification with vent screw and with test connection. |
parts list
| part no. | designation | material | ||
|---|---|---|---|---|
| 1 | 2 | 6 | ||
| 1 | body, forged | A105 | 316Ti | brass |
| 3 | spindle roll sealed | 430F | 316Ti | 430F |
| 3.1 | cone, rolled into, movable | SS | 316Ti | SS |
| 4 | taper ring | 1035 | 316Ti | brass |
| 6 | packing | graphite1) | PTFE 2) | |
| 7 | gland | 1213 | 316Ti | brass |
| 8 | union nut | 1213 | 316Ti | brass |
| 9 | handwheel | moulded plastic 3) | ||
| 10 | nut | steel galvanized | SS | brass |
| 11 | vent screw | 430F | 316Ti | 430F |
| 12 Form A | adjusting nut | 1213 | 303 | brass |
| 13 Form B | nut (DIN 16284) | A570Gr33,36 | 316Ti | brass |
| 14 | nut (DIN 16284) | 1213 | 303 | brass |
| 15 | nut (DIN 3870) | 1213 | 316Ti | brass |
| 16 | cutting ring (DIN 3861) | steel DIN 3859 |
316Ti | brass |
| 17 | cap for test connection (DIN 3870) | 1213 | 316Ti | brass |
1) On request: graphite-packing or
2) free of oil and grease: oxygen packing max. PN 250
3) On request: steel sheet or tommy bar.
|
picture a |
scale Our gauge-valves wich comply to DIN 16270 and 16271 spec. can also be obtained with stainless steel interchangeable seats - type A7 and A6 (not in the catalogue).
|
|
picture b |
picture c |
Order Number
| M | 1 | inlet-code |
connection code |
|||
| type | body number | material code | special characters code |
|||
| M=gauge valves |
1 Mat.: carbon steel A105 2 Mat.: stainless steel 316Ti 6 Mst.: brass |
E venting
G bar (instead of handwheel) H handwheel of steel sheet K lock nut PT german TA-Luft |
order numbers for DIN gauge valves
| designation | material | valve number acc. to DIN | order number | |
|---|---|---|---|---|
| picture a gauge valve DIN 16271 form A |
A105 | DIN16271-A-10St | M11EGM12SP12P1 | |
| 316Ti | DIN16271-A-20St | M12EGM12SP12P1 | ||
| picture b Manometerabsperrventil DIN 16271 Form B |
A105 | DIN16271-B-10St | M11EGM12LG12P1 | |
| 316Ti | DIN16271-B-20St | M12EGM12LG12P1 | ||
| picture c gauge valve DIN 16271 form B with inlet cutting ring SV for 12 or 14 mm tubes ISO 8434-1 (DIN 2353) |
SV 12 | A105 | DIN16271-B-10St-AS12 | M11ESV12LG12P1 |
| 316Ti | DIN16271-B-20St-AS12 | M12ESV12LG12P1 | ||
| SV 14 | A105 | DIN16271-B-10St-AS14 | M11ESV14LG12P1 | |
| 316Ti | DIN16271-B-20St-AS14 | M12ESV14LG12P1 | ||
| similar picture c gauge valve DIN 16271 form B with inlet ISO 8434-1 welding nipple (DIN 2353) |
SK 12 | A105 | DIN16271-B-10St-AS12 | M11ESK12LG12P1 |
| 316Ti | DIN16271-B-20St-AS12 | M12ESK12LG12P1 | ||
| SK 14 | A105 | DIN16271-B-10St-AS14 | M11ESK14LG12P1 | |
| 316Ti | DIN16271-B-20St-AS14 | M12ESK14LG12P1 | ||



