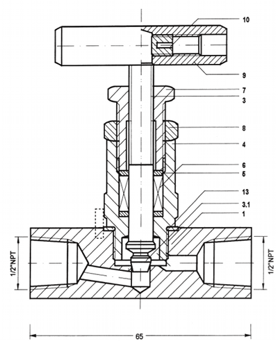
Cut-off valve
| B1 |
DN: max 8 |
Shut-off valve with screwed bonnet, back seating of the spindle and outside spindle thread. |
parts list
| part no. | designation | material | |
|---|---|---|---|
| 2 | |||
| 1 | body | 316L | |
| 3 | spndle | 316Ti | |
| 3.1 | non rotating plug | 316Ti | |
| 4 | bonnet | 316Ti | |
| 5 | scraper ring | Novapress | |
| 6 | packing | PTFE 200°C 1)2) |
|
| 7 | gland | 316Ti | |
| 8 | lock-nut | 316Ti | |
| 9 | T-bar | 316Ti | |
| 10 | screw | SS | |
| 13 | seal | 316Ti | |
1) On request: graphite; max 550°C for all fittings or
2) free of oil and grease: oxygen packing max. PN 250
![]() |
scaleOrder no. for this example: B1 2 Nl12Nl12
|
|
![]() |
Order Number
| B | 1 | 2 | Nl12 | Nl12 | |
| type | body number | material code | special characters code | inlet-code | outlet-code |
|
2 Mat.: stainless steel 316L
All materials can be delivered with certificate DIN EN 10204 - 3.1 |
F bellow E venting PT german TA-Luft |
different connections from standard are possible |
|||


