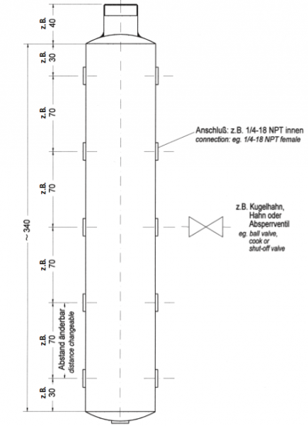
Air-Distribution manifolds
We manufacture different types of distribution manifolds made out of stainless steel, with 3-, 5-, 12- or x-way outlets. The manifolds are suitable for use with a variety of outlet take-off valves. The inlet-connection can be flange- or screwable. A drain-valve is possible at the manifold exit. The manifolds can be supplied with a bracket for wall mounting.

Universal solution for your distinct requirements!
The following pictures reflect tailor-made solutions
![]() |
![]() |



